

| Name | Design and manufacture | Pressure Test | Weld end | |
| Reference Standard | GB/T12234 | GB/T 13927 | GB/T 12224 |
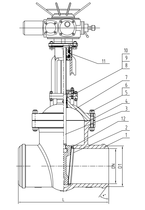
| Name | Body | Disc | Shaft | Seat | Actuator |
| Material | WCB | WCB | 2Cr13 | 13Cr | Electric actuator |
| Norminal pressure | Gas seal test(MPa) | Water seal test (MPa) | Shell seal test(MPa) | Working tempreature | Medium | |
| PN100 | 0.6 | 11 | 15 | 425℃ | Water |




