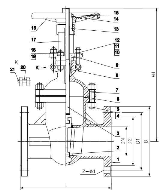
Features:
Application field:Steam, Municipal construction, chemical industry, water treatment, electricity, petroleum, water supply and drainage, water conservancy projects.
Product advantages:
1.Precision casting valve body, refined appearance
The valve body is made of WCB material with delicate appearance. Each batch of casting has a special mark, which is convenient for production tracking and inspection.
2.After the appearance of processing again, more beautiful
The internal part numerical control lathe machining, carries on the second processing, causes the appearance to be more beautiful.
3.Seats wear better
The seat adopts Cr stainless steel and surfacing 507 molybdenum to increase the wear resistance of the seat.
4.Cover valve stem inverted seal disposal to prevent leakage
Do inverted seal on the contact between cover and stem to prevent leakage.
5.Pressure test of valve stem before delivery
Each valve must do double pressure test of valve body and seal according to strict standard.
6.Carry out quality inspection for many times and ensure quality
Strict quality inspection is carried out in every link from parts to finished product packaging.






